Air Motor
モデル :
AM-02F/ AM-03F
AM-02F 1/3 HP
AM-03F 3/4 HP
Air Motor
● Certificates: ISO 9001: 2008/ 2006/ 42/ CE
AM-03F 3/4 HP
Air Motor
● Certificates: ISO 9001: 2008/ 2006/ 42/ CE
AM-02F 1/3 HP
AM-03F 3/4 HP
Air Motor

AM-03F 3/4 HP
Air Motor

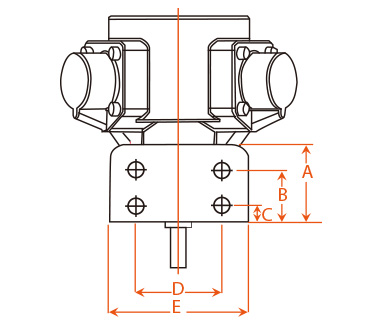
|
Item No. |
A |
B |
C |
D |
E |
Air Motor |
N.W |
Dimension |
|
mm |
mm |
mm |
mm |
mm |
HP |
kg |
mm |
|
|
AM-02F |
68 |
53 |
25 |
49 |
81 |
1/3 |
2.1 |
147 x 136 x 131 |
|
AM-03F |
69 |
50 |
22 |
70 |
101 |
3/4 |
3.4 |
180 x 166 x 155 |